產品概述:
DYM3型空盒氣壓表是以變形元件作感應的一種大氣壓測量儀器。它以攜帶方便、測量準確,測壓范圍廣、使用維護簡便、無汞污染等優點,廣泛地應用于氣象、軍事、航空、航海、農業、測量、地質、工礦企業和科研等**域,成為測量大氣壓力的常規儀器。
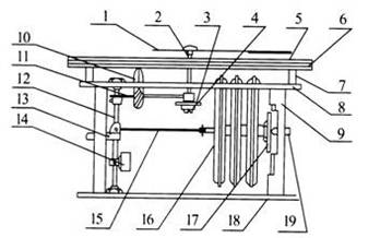
儀器結構:
序號
零部件名稱
序號
零部件名稱
1
指針
11
扇形齒輪
2
指針軸
12
中間軸
3
游絲
13
調節螺釘
4
指針軸托板
14
配重塊
5
表盤
15
連接桿
6
反光鏡
16
空盒組
7
表盤固定柱
17
調節器
8
上托板
18
下托板
9
托板固定柱
19
安裝螺釘
10
溫度表

工作原理:
空盒氣壓表是以彈性金屬做成的薄膜空盒作為感應元件,它將大氣壓力轉換成空盒的彈性位移,通過杠桿和傳動機構帶動指針。當順時針方向偏轉時,指針就指示出氣壓升高的變化量,反之,當指針逆時針方向偏轉時,指示出氣壓降低的變化量。當空盒的彈性應力與大氣壓力相平衡時,指針就停止轉動,這時指針所指示的氣壓值就是當時的大氣壓力值。
測量范圍
500~1020hPa
使用溫度范圍
-10~+40℃
示度盤最小分度值
lhPa
附溫表最小分度值
1℃
儀器重量
<1.5Kg
儀器尺寸
156×156×115(mm)
經過溫度、示度和補充訂正后的測量誤差不大于2.0hPa
廣泛地應用于氣象、軍事、航空、航海、農業、測量、地質、工礦企業和科研等領域,成為測量大氣壓力的常規儀器。


